During deballasting of a cargo hold (ballast hold) by gravity, the hatch cover, coamings, and the deck in way of and between hatches suffered major structural damage. The hatch covers were found set down about 100 mm, measured at the transverse joints of the forward and aft panels.
The hatch coamings and stiffeners in way were also deformed. The deck plating, on the port and starboard side and between the hatches, were deformed correspondingly in areas of about 3 m x 5 m each.
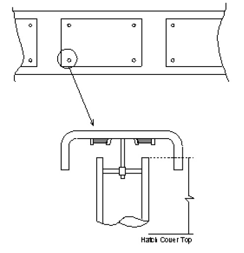
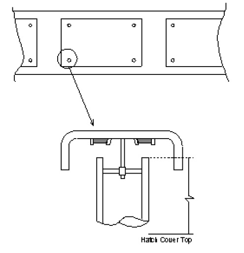
The cargo hold was equipped with four mushroom type manual vents on the top of the hatch cover. There were two ballast pumps. The signboard fitted at the cargo control console warned that vents on hatch covers have to be kept open during ballasting and deballasting operations. The probable cause was that the vents were kept closed at the time of deballasting, causing under-pressure in the ballast hold and consequential damage as described above.
Lessons to be learned from the above include the following:
- Procedures should be established and implemented for ballasting and deballasting operations.
- Measures should be taken to ensure that vents are open to prevent over-pressure or under-pressure in the ballast holds are to be included.
- Considerations should be made to fit warning signs in way of the cargo hold vents, in addition to signboard at cargo control console.
Source: DNV















Leave a Comment